Catalogue
- Key Applications of AI in Power Cycling Test Systems
- Practical Case: AI-Based Defect Detection Using C#
- Challenges and Future Outlook
- Conclusion
Keyword
PCT, Semiconductor Power Cycling Testing, IEEE reports, Artificial Intelligence, AI, Intelligent Defect Detection, Dynamic Test Optimization, SHYSEMI
According to IEEE reports, demand for power semiconductors in electric vehicles, 5G infrastructure, and renewable energy systems is growing at over 20% annually, placing increasing pressure on testing accuracy and efficiency.

Traditional PCT methods rely on fixed cycle counts and manual threshold analysis. These approaches struggle to capture complex electro-thermal-mechanical failure mechanisms, often resulting in long test cycles (up to several weeks) and relatively high misjudgment rates (around 15%).
The integration of AI—particularly machine learning (ML) and deep learning—is changing this landscape. Through intelligent defect detection, dynamic test optimization, and predictive maintenance, AI can improve testing efficiency by 30–40% and reduce costs by approximately 25% (based on Infineon case studies).

This article focuses on practical implementation, sharing how AI is applied in power cycling test systems and how it enhances development workflows and reshapes the testing ecosystem.
Key Applications of AI in Power Cycling Test Systems
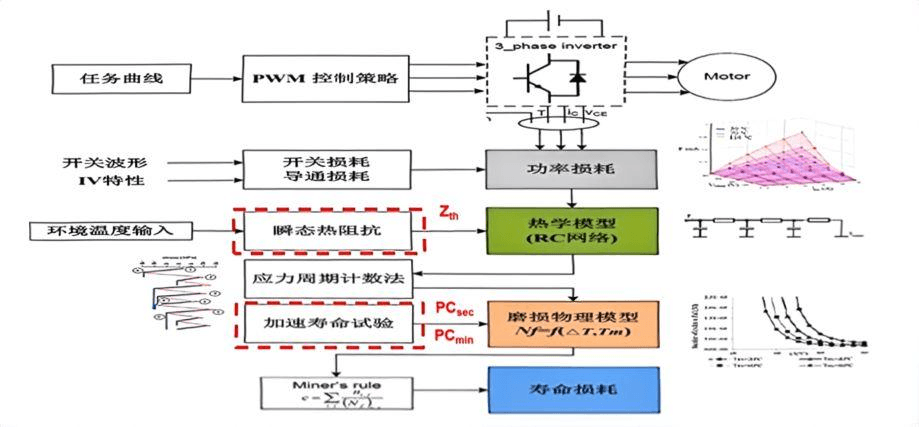
Power cycling test platforms (such as Mentor Graphics’ T3Ster or Keysight’s B1506A) evaluate device lifetime by applying repeated electrical and thermal stress. AI enhances these systems in three key areas:
1. Intelligent Defect Detection
Traditional methods rely on static thresholds (e.g., thermal resistance change >20%), which fail to account for device variability.
AI models—such as LSTM networks and convolutional neural networks (CNNs)—analyze time-series data (voltage, current, temperature curves) to detect early signs of failure, including:
- Solder joint fatigue and cracking
- Gate oxide degradation
For example, Bosch’s AI-based testing platform achieved 93% detection accuracy, improving performance by 15% compared to conventional methods.

2. Dynamic Test Optimization
AI enables adaptive testing through reinforcement learning (RL), which dynamically adjusts parameters such as:
- Cycling frequency
- Current amplitude
In one project, RL reduced test duration from two weeks to ten days, saving approximately 30% of testing resources. Similar results have been demonstrated in AI-enhanced systems from Keysight.
3. Predictive Maintenance
Long-term operation of test equipment can lead to sensor drift and mechanical wear.
AI models trained on historical data (temperature, vibration) can predict failures in advance, enabling proactive maintenance.
For instance, Infineon uses random forest models to predict maintenance needs, reducing downtime by up to 50%.

Practical Case: AI-Based Defect Detection Using C#
In a real-world power module testing project, we developed an AI-driven defect detection system for IGBT modules based on power cycling data.
Project Overview
- Dataset: 5,000 samples
- Input: Voltage, current, and temperature data
- Labels: Normal, solder failure, gate fault
Implementation Steps
1. Data Preparation
CSV data was loaded using C#, with normalization applied to voltage and temperature sequences.
2. Model Development
A lightweight 1D-CNN model was built using ML.NET, with a sequence length of 100 and three output classes.
3. Training and Evaluation
- Loss function: Cross-entropy
- Training epochs: 20
- Accuracy: 91% (compared to 75% using traditional threshold methods)
4. Deployment
The model was integrated into the test system software, achieving real-time inference with latency below 100 ms.

This case demonstrates the efficiency of C# and ML.NET for embedded testing systems, allowing developers to rapidly build and deploy AI models without relying heavily on Python-based ecosystems. Development time was reduced by nearly 50%.
Challenges and Future Outlook
Challenges
- Data Quality: High noise levels in test data require preprocessing (e.g., filtering) to ensure model robustness
- Real-Time Performance: Low-latency requirements demand optimized inference (e.g., ONNX acceleration)
- Compliance: Data privacy regulations (such as GDPR) may require edge computing or federated learning solutions
Future Directions
- Integration of multimodal AI models (e.g., combining thermal imaging and time-series data) to improve detection accuracy
- Development of AI-driven digital twin platforms to simulate full lifecycle failure behavior
Conclusion
The application of AI in power cycling test systems is transforming semiconductor testing from passive validation to predictive intelligence.
By automating data analysis and decision-making, AI not only streamlines development workflows—from data processing to model deployment—but also reshapes the entire testing ecosystem into a more intelligent, data-driven environment.
For engineers and developers, this shift means moving away from manual analysis toward designing smarter, more efficient systems.
If you have experience with AI in testing applications, feel free to share your insights and explore new possibilities together.

